Editor’s Note: Patent, Trademarks, and Copyrights Attorney Kirk A. Sigmon offers a glimpse into the fascinating, unusual, and humorous world of Ballroom patents. He ingeniously presents many contraptions invented to improve ballroom dancing. You may have seen some, but you definitely haven’t seen them all! Thank you, Kirk! This piece is very different and absolutely brilliant!
Ballroom dance showcases creativity on the dance floor–and inspires innovation as well. From small inventions that improve tailsuits to complex online dancing systems, inventors across the world are patenting ways to make ballroom dancing easier, prettier, and safer. Those patents can be important, as they help inventors protect themselves from knockoffs, secure investor funding, and provide proof of their creativity. Here are a few examples.
The Dummy Dance Partner
Having trouble finding a good follow? Japanese Pat. No. 4,531,854 to Ohara might have a solution. The patent describes a “pseudo partner tool” emulating the upper torso of a woman that is connected, via a “trace installation unit,” to a belt of a (real) male dancer. The tool can move around the body of a leader while remaining upright, allowing it to emulate a wide variety of dance positions. For example, the device can be adjusted along a “closed position-promenade position path”: that is, the tool can emulate transitions between closed position and promenade position freely without tipping over or disconnecting.

Virtual Ballroom Dancing Online
Want to dance virtually in your pajamas and from the comfort of your own home? U.S. Pat. No. 10,537,815 to Ur might be the solution you’re looking for. The patent describes a “movement registration module” that tracks movements between a real participant and a second participant “not physically located at the same location.” The patent also describes a “tactile feedback actuator configured to supply tactile feedback to the participant.” This enables both remote dancing (e.g., with other real people) and dancing with “virtual partners,” suggesting that the system could be used for everything from online social dances to computerized dance classes with non-existent partners.

Anti-Slip Dance Shoes
If water, baby oil, or a good brush aren’t doing the trick, Korean Pat. No. 101,778,534 to Leemight have a better approach. Lee’s shoes add a “slip prevention mechanism” that is “formed in a line along the edge of the front surface portion of the shoe.” That slip prevention mechanism might comprise, for example, small protrusions made of “a silicone material.” Since the mechanism is only on the “edge of the front surface portion,” the shoes ensure that “the smooth dance sports can be performed” and “only a minimal amount of frictional force can be provided.”

Splits, Made Easy(?)
If you really, really want to achieve great splits, Chinese Utility Model No. 217,511,080 to Gaimight be your answer. The device (awkwardly translated as a “crotch opening device”) purports to help train splits for “sports dance” using an electrical mechanism that, using rope, slowly and gradually pulls legs apart to create a split. This utility model is far from the only one directed to achieving splits: even a cursory search reveals dozens of patents directed to dance-related stretching, including one application (Chinese Unexamined App. No. 111,298,378 to He) that describes a “splitting” device with a heating element to keep users warm while they practice their splits.

Eyes on the “Marker”
Ever had trouble looking in the right direction while partner dancing? Japanese Utility Model No. 3,172,761 to Kazuyo tries to provide a solution: a “marker” attached to an upper arm or elbow that a follow can use to direct their gaze so as to keep their neck, face, and line of sight in the right direction. The idea, in short, is to help follows develop the muscle memory of looking in the right direction, even during spins and turns.

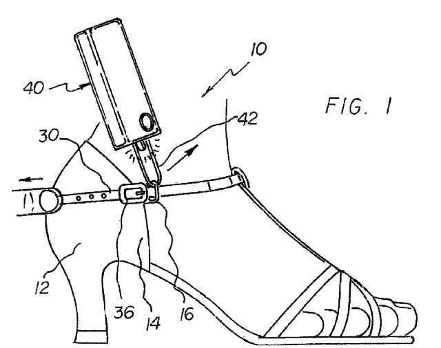
Ballroom Heel Buckling Tool
If you’ve ever struggled with the buckle of a ballroom dance heel in the dark, U.S. Pat. No. 9,907,423 to Thurmond et al. might help. The device comprises a “tool hook” that can be used to help tightly buckle a ballroom dance heel. The device also comprises a small LED light that helps provide illumination around the buckle. Per the patent, this tool helps ladies ensure that the “strap is buckled tightly to provide firm tension against the foot” despite “typical factors as a lady’s full skirt, long fingernails, and low light conditions.”

Ballroom Heel Buckling Tool.
Anti-Slip Dance Cuffs for Tailsuits
Finding the right dance shirt can be tough: some can be too tight, others too easily wrinkled, and some can fit right in the body while still being short in the arms. Japanese Pat. App. No. 2016/204786 to Nishida purports to solve this issue by adding an “antislip member” to the end of a cuff. That antislip member is designed to keep the cuff portion perfectly positioned under a tailsuit “even when the shirt . . . is worn when the arm is moved relatively violently, such as during a ballroom dance.”

Competition Clothes Iron
Those who worry about wrinkling their dance clothes might be in luck: Chinese Utility Model No. 209,260,404 to Wang might keep your clothes in good order. The utility model disclosure describes an iron with a “frame” that can “shrink and stretch,” allowing “clothes of different sizes” to be hung and quickly ironed. The idea, it seems, is that an ironing frame that can change its size and shape freely could be used to easily iron everything from lengthy tailsuits to large ballgowns.

Ballroom Dance Frame Trainer
There are a wide variety of different patented ballroom dance frame trainers, and Japanese Utility Model No. 3,114,489 to Kuromori is an excellent example. This trainer, referred to as a “hold corrector,” uses “rubber belts and nylon belts” to help maintain the position of a ballroom dance hold while remaining relatively flexible. The device is also adjustable and can be worn by both leads and follows, meaning that it can be used in a wider variety of contexts as compared to more rigid, pole-based solutions.

Floor Dance Brush
Yes, even dance brushes can be the subject of a patent application. Japanese Utility Model No. 3,101,690 to Kuroyama describes a “dance brush which can be quickly brushed on a sole shoe.” The brush itself can be “stored in an attaché case” and placed on the floor, allowing a dancer to brush their shoes “while standing.” The brush is also replicable when it gets too old without requiring replacement of the entire unit.

Kirk A. Sigmon is a partner at Banner & Witcoff Ltd., where he specializes in intellectual property like patents, trademarks, and copyrights. Kirk began his career in Tokyo, and he currently specializes in everything from artificial intelligence patents to video game copyright issues. Kirk is also a competitive ballroom dancer based in the Washington, D.C. area, where has been competing in styles like International Latin and American Smooth for over a decade.





















